Herramientas especiales, equipos de comprobación y medición y dispositivos auxiliares necesarios

Desmontar
¡ATENCIÓN!
Es obligatorio atenerse al procedimiento descrito en el manual de reparaciones para desembornar y embornar la batería.
- Desembornar la batería.
- Desacoplar el conector del cable DF -1- y retirar el protector -2-.

- Desmontar el cable B+ -flecha- del alternador.
- Desmontar el elemento insonorizante.
¡ATENCIÓN!
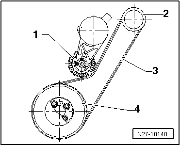
Marcar la cara superior y el sentido de giro de la correa poli-V antes de desmontarla.
Tener en cuenta el sentido de giro y la posición de montaje al montar la correa. Si se coloca en sentido contrario al sentido de giro o en la posición inversa la correa se deteriorará.
- Marcar el sentido de giro de la correa poli-V.

- Aflojar la correa poli-V moviendo el elemento tensor en el sentido de la -flecha- con la ayuda de una llave poligonal e/c 16.
- Inmovilizar el elemento tensor con el útil de retención -T20167-.
- Retirar la correa poli-V.

- Quitar los tornillos que fijan el alternador -flechas-.

- Desmontar el sujetacables -flecha- del alternador.
- Retirar el alternador.
Montar
El montaje se efectúa siguiendo el orden inverso al proceso de desmontaje. Para ello hay que tener en cuenta lo siguiente:
¡ATENCIÓN!

- Expulsar los casquillos roscados -A- unos 4 mm en el sentido de las -flechas- de la carcasa del alternador.

- Montar el sujetacables -flecha- en la parte trasera del alternador en la posición correspondiente a las 9 horas del reloj.
- Apretar los tornillos y tuercas a los pares indicados.
¡ATENCIÓN!
Obsérvense las indicaciones sobre la fijación de los bornes a los polos de batería.
- Embornar la batería.
- Arrancar el motor y controlar el recorrido de la correa.
- Apagar el motor.

Recorrido de la correa poli-V, vehículos sin aire acondicionado, motor de inyección de 1,4 l

Recorrido de la correa poli-V, vehículos con aire acondicionado, motor de inyección de 1,4 l

Alternador, motor MPI de 1,6 l
Alternador, motor TSI de 1,2 l
Alternador, motor TSI de 1.4 l
Cuadro de montaje - Embrague doble, cajas de cambios fabricadas a partir de
06.2011
Regulación de la temperatura de los gases de escape: cuadro de montaje